問題:
對于已辦理環保驗收的項目,是否適用《污染影響類建設項目重大變動清單 ( 試行 ) 》?
已辦理環保驗收的項目,是否用《污染影響類建設項目重大變動清單 ( 試行 ) 》判定是否屬于重大變動?
亦或《污染影響類建設項目重大變動清單 ( 試行 ) 》只適用于未辦理環保驗收的項目?謝謝,請予以回復!
回答:
已辦理驗收的建設項目不適用《污染影響類建設項目重大變動清單 ( 試行 ) 》。
根據《環境影響評價法》《建設項目環境保護管理條例》有關規定,以及生態環境部辦公廳《關于磷化行業企業建設項目及污染排放有關問題法律適用的復函》 ( 環辦執法函 [2021]513 號 ) 有關精神,如建設項目已完成竣工環保驗收,則項目發生的變動不屬于重大變動界定范疇。
已驗收項目設備增加和廢氣處理設施升級改造是否需要重新做環評?
問題:
已驗收通過的項目,由于設備與產能不匹配,增加了 2 臺生產設備,不涉及新增用地、不增加污染物排放種類和數量,不增加原輔料和產能,請問是否需要重新做環評,或者備案;另外項目原先審批廢氣處理設施采用活性炭吸附,目前對此廢氣處理設施進行升級改造,原有采用活性炭吸附涉及改造為水噴淋 +UV+ 活性炭吸附,請問此變動是否需要重新申報環保手續?
回復:關于問題一,建議結合具體項目內容,徑向屬地生態環境部門咨詢。
關于問題二,根據《建設項目環境影響評價分類管理名錄 (2021 年版 ) 》第 100 項 “ 脫硫、脫硝、除塵、 VOCs 治理等大氣污染治理工程 ” 應填寫登記表。另外,項目的建設還應符合《廣東省 2021 年大氣污染防治工作方案》相關要求。
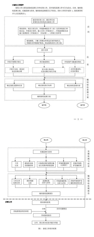
根據《中華人民共和國固體廢物污染環境防治法》、《建設項目環境保護管理條例》、《關于發布 < 建設項目竣工環境保護驗收暫行辦法 > 的公告》 ( 國環規環評 〔 2017 〕 4 號,附件 1) 有關規定,自 2020 年 9 月 1 日由企業自主全面開展建設項目竣工環境保護驗收。那么企業該如何實施自主驗收?
1. 驗收依據
建設單位根據《中華人民共和國大氣污染防治法》、《中華人民共和國水污染防治法》、《中華人民共和國固體廢物污染環境防治法》、《中華人民共和國環境噪聲污染防治法》、《建設項目環境保護管理條例》、《關于發布 < 建設項目竣工環境保護驗收暫行辦法 > 的公告》 ( 國環規環評 〔 2017 〕 4 號 ) 等規定,開展建設項目竣工環境保護驗收工作。
驗收的程序和內容參照《建設項目竣工環境保護驗收暫行辦法》 ( 國環規環評 〔 2017 〕 4 號 ) 。 編制驗收監測 ( 調查 ) 報告過程中,以排放污染物為主的建設項目,參照《建設項目竣工環境保護驗收技術指南 污染影響類》編制驗收監測報告;主要對生態造成影響的建設項目,按照《建設項目竣工環境保護驗收技術規范 生態影響類》編制驗收調查報告;火力發電、石油煉制、水利水電、核與輻射等已發布行業驗收技術規范的建設項目,按照該行業驗收技術規范編制驗收監測報告或者驗收調查報告。
建設單位可以登陸生態環境部網站查詢建設項目竣工環境保護驗收相關技術規范。
2. 編制驗收報告
驗收報告分為驗收監測 ( 調查 ) 報告、驗收意見和其他需要說明的事項等三項內容。
驗收意見包括工程建設基本情況、工程變動情況、環境保護設施落實情況、環境保護設施調試效果、工程建設對環境的影響、驗收結論和后續要求等內容,驗收結論應當明確該建設項目環境保護設施是否驗收合格。存在問題的,建設單位應當進行整改,整改完成后方可提出驗收意見。
“ 其他需要說明的事項 ” 中應當如實記載環境保護設施設計、施工和驗收過程簡況、環境影響報告書 ( 表 ) 及其審批部門審批決定中提出的除環境保護設施外的其他環境保護對策措施的實施情況,以及整改工作情況等。
3. 驗收調試
需要對建設項目配套建設的環境保護設施進行調試的,建設單位應當確保調試期間污染物排放符合政策和地方有關污染物排放標準和排污許可等相關管理規定。
納入排污許可管理的建設項目,排污單位應當在項目產生實際污染物排放之前,按照排污許可有關管理規定要求,申請排污許可證。環境保護設施未與主體工程同時建成的,或者應當取得排污許可證但未取得的,建設單位不得對該建設項目環境保護設施進行調試。
4. 信息公開
除按照需要保密的情形外,建設單位應當通過其網站或其他便于公眾知曉的方式,向社會公開下列信息:
( 一 ) 建設項目配套建設的環境保護設施竣工后,公開竣工日期;
( 二 ) 對建設項目配套建設的環境保護設施進行調試前,公開調試的起止日期;
( 三 ) 驗收報告編制完成后 5 個工作日內,公開驗收報告,公示的期限不得少于 20 個工作日。
5. 驗收期限
驗收期限是指自建設項目環境保護設施竣工之日起至建設單位向社會公開驗收報告之日止的時間。除需要取得排污許可證的水和大氣污染防治設施外,其他環境保護設施的驗收期限一般不大于 3 個月;需要對該類環境保護設施進行調試或者整改的,驗收期限可以適當延期,但再長不大于 12 個月。
6. 上報平臺、歸檔
驗收報告公示期滿后 5 個工作日內,建設單位應當登錄我國建設項目竣工環境保護驗收信息平臺,填報建設項目基本信息、環境保護設施驗收情況等相關信息。
建設單位應當將驗收報告以及其他檔案資料存檔備查。
7. 驗收不合格情形
建設項目環境保護設施存在下列情形之一的,建設單位不得提出驗收合格的意見:
( 一 ) 未按環境影響報告書 ( 表 ) 及其審批部門審批決定要求建成環境保護設施,或者環境保護設施不能與主體工程同時投產或者使用的;
( 二 ) 污染物排放不符合政策和地方相關標準、環境影響報告書 ( 表 ) 及其審批部門審批決定或者重點污染物排放總量控制指標要求的;
( 三 ) 環境影響報告書 ( 表 ) 經批準后,該建設項目的性質、規模、地點、采用的生產工藝或者防治污染、防止生態破壞的措施發生重大變動,建設單位未重新報批環境影響報告書 ( 表 ) 或者環境影響報告書 ( 表 ) 未經批準的;
( 四 ) 建設過程中造成重大環境污染未治理完成,或者造成重大生態破壞未恢復的;
( 五 ) 納入排污許可管理的建設項目,無證排污或者不按證排污的;
( 六 ) 分期建設、分期投入生產或者使用依法應當分期驗收的建設項目,其分期建設、分期投入生產或者使用的環境保護設施防治環境污染和生態破壞的能力不能滿足其相應主體工程需要的;
( 七 ) 建設單位因該建設項目違反政策和地方環境保護法律法規受到處罰,被責令改正,尚未改正完成的;
( 八 ) 驗收報告的基礎資料數據明顯不實,內容存在重大缺項、 遺漏,或者驗收結論不明確、不合理的;
( 九 ) 其他環境保護法律法規規章等規定不得通過環境保護驗收的。
電話:0317—8315225
傳真:0317—8315251